Each item in the list below represents topics covered indetail below:
Seatback Display Circuit OperationSeatback Display System ComponentsVideo ScreensRemote ControlWireless HeadphonesVideo Inputs OnlySeatback Display Circuit OperationSeatback Display Power
The Seatback display uses the common radio power enablevoltage feed circuit and direct feed for B+ power moding.
Seatback Display Grounds
The vehicle harness provides a ground for the Seatbackdisplay system.
Seatback Display Outputs
The Seatback display can only output video to eachscreen.
Seatback Display Electrical Interface with Radio DVDPlayerThe Seatback display module will receive a video signal fromthe radio head unit. The left side (driver) Seatback display willreceive a video signal from the radio display 1 video output. Theright side (passenger) Seatback display will receive a video signalfrom the radio display 2 video output.
The video source sent from the radio to the video screenswill be controlled via the source button on the remote control orthe radio.
The Radio DVD player/Rear Seat Audio System interfaces to thedisplay through the following:
Composite Video SignalsNTSC and PAL video formats are supported.
Left and Right Audio SignalsPWM signal for Brightness Control.The brightness control is used to provide the screenbrightness signal to the seatback displays.Each of the two seatback displays per vehicle share a commonbrightness control line from the radioThe pulse width modulated (PWM) brightness control isprovided by the radio over a single wire, using ground as thereturn.PWM signal for Mode Control.The mode control is used to control video screen displayoptions, in support of providing different screen sizes, zoom,picture inversion and backlighting.Each of the two seatback displays per vehicle share a uniquemode control signal from the radio.The PWM mode control is provided by the radio over a singlewire, using ground as the return.Power Enable Signal.The power enable signal is used to activate the DVDdisplays.
The 2 Seatback Displays interface to the Radio DVD playerthrough the following:
IR remote data carried on a twisted wire pair. The IR remotedata circuits from left and right seatback displays are splicedtogether within wiring harness.
Seatback Display System ComponentsThe Seatback display system includes:
Two video display screensInfrared Module (located only in the left screen)Driver side transmits and receivesPassenger side only receivesTwo sets of wireless infrared headphonesA remote controlLocal video input for each Seatback display for playing avideo auxiliary device on the Seatback display.
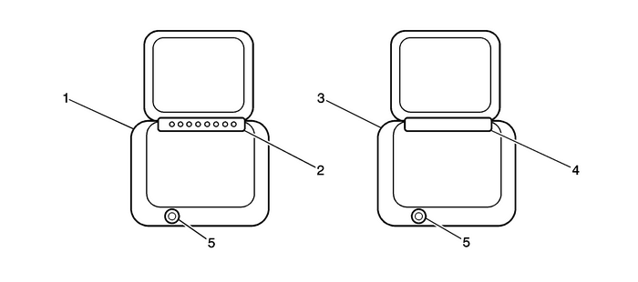
| (1) | Left Driver SeatbackDisplay |
| (2) | Left IR—Dimly Illuminates8 Leds, Transmits Audio And Recieves Remote Signal |
| (3) | Right Passenger SeatbackDisplay |
| (4) | Right IR—LEDS Do NotIlluminate, Receives Remote Signal Only |
| (5) | Local video input |
The video screens are located in the back of the driver andfront passenger seats. The rear Seatback display screen shows videofrom the radio DVD player, or an AUX input device, such as a videogame console or camera. Only the left display console contains theinfrared transmitters for the wireless headphones, they may bevisible as 8 illuminated LEDs. These 8 LEDs are not on visible onthe right video screen. Both consoles contain an infrared receiverfor the remote control. They are located in the middle of each ofthe Seatback display console.
IR ModuleEight infrared light emitting diode (LED) transmitters areused to send audio signals to the wireless headphones that areincluded in the system. These LEDs are located on thedriver’s side Seatback display, and aimed to providesignal to any rear seating position. During operation, the LEDs maybe visible through the lens on the driver’s side display,but not on the passenger side. This is normal operation; theilluminated LEDs are located on the driver’s sideSeatback display only.
Remote ControlTo use the remote control, aim it at the transmitter windowat either the right or left seatback consoles and press the button.Direct sunlight or very bright light may affect the ability of theentertainment system to receive signals from the remote control. Ifthe remote control does not seem to be working, the batteries mayneed to be replaced. Objects blocking the line of sight may affectthe function of the remote control.
If a CD, DVD, or MP3 disc is in the radio DVD slot, theremote control button can be used to turn on the video screendisplay and start the disc. The radio can also turn on the videoscreen display.
If the remote control is to be stored for a long period oftime, remove the batteries and keep them in a cool, dry place. Donot store the remote control in heat or direct sunlight. This coulddamage the remote control. Keep the remote control stored in acool, dry place.
Wireless HeadphonesWireless headphones allow for rear seat passengers to use thedisplay DVD without disturbing the listening of front seatpassengers. The wireless headphones receive audio signals from theinfrared (IR) transmitter on the left Seatback display. Thistransmission is line of sight only, so audio quality will bedegraded if anything blocks the transmitter signal from reachingthe headphones, or if the headphones are placed in the front of thevehicle. The infrared transmitter located on the left Seatbackdisplay will have red LEDs dimly illuminated when activated.
The wireless headphones include 2 channels. This allows rearseat passengers to utilize both screens individually withoutdisturbing one another. On some wireless headphone models, you willsee a red LED illuminated when the headphone is turned ON.
Each set of headphones has a rotary volume control. To adjustthe volume, adjust this control. The headphones may automaticallyturn OFF if they lose the infrared signal from the system forapproximately 4 minutes in order to preserve their battery power.The signal may be lost if the system is turned off or if theheadphones are out of range of the infrared signal transmittersthat are located near the video display screen.
Wireless Headphones without Rear Seat Audio (RSA)
The wireless headphones setup on the Seatback display systemwithout Rear Seat Audio (RSA) is unique. If the RSA system is notincluded with vehicle, the audio that can be heard on the wirelessheadphone channel 2 will only be from a device (IPOD, MP3 player,game system, etc.) that is connected to the rear seat auxiliaryaudio jacks. Wireless headphone channel 1 will provide audio fromany disc in the DVD player, including DVD audio, CD audio, and MP3or WMA audio discs.
Video InputsThe local video input is the standard yellow RCA color-codedjacks. The RCA jack is located on the front lower side of theSeatback display housing. Any composite video signal (from a videogame, camera, stand-alone DVD player, etc.) attached to this inputwill override the video from the vehicle DVD or rear auxiliaryjack. Power for auxiliary devices is not supplied by the radiosystem. To use the video input of the rear seat entertainmentsystem, connect the auxiliary device cables to the video jacks andpower ON both the auxiliary devices and the Seatback displayscreen. Any use of this input will have to access audio from theexternal device only.
Rear Seat Audio (RSA) (if equipped)The RSA is integrated into the rear HVAC control module.Audio, video source are controlled by the radio through serial datacommunication. Some sources are; radio (AM/FM), XM™ (ifequipped), CD, and if the vehicle has these features, DVD, frontauxiliary, and rear auxiliary.
The rear speaker channels pass through the RSA. The rear seataudio can be muted by the RSA when in use.
Special Tools (MIT Tool Instructions)
Special ToolsTiming Chain Idler Sprocket Installation - Right Side Valvetrain Valvetrain Timing Timing Belt/Chain
Ensure that the right camshaft intermediate drive chainidler-(1) is being installed. The recessedhub-(4) and the smaller sprocket of the right camshaftintermediate drive chain idler is installed outward. The raised huband the larger sprocket of the right camshaft intermediate drivechain idler is ins ...