| Table 1: | A/Trans Seal Kit (Gen 1& 2) 24251028 |
| Table 2: | Front Wheel Seal Kit (Gen 1& 2) 19258415 |
| Table 3: | Front Wheel Seal Kit (Gen 1& 2) 19258416 |
| Table 4: | A/Trans Seal Kit (Gen 1) 24251353 (1 of 2) |
| Table 5: | A/Trans Seal Kit (Gen 1) 24251353 (2 of 2) |
| Table 6: | A/Trans Seal Kit (Gen 2) 24260603 (1 of 2) |
| Table 7: | A/Trans Seal Kit (Gen 2) 24260603 (2 of 2) |
| Table 8: | Transmission Kit (Gen 1) 24260701 |
| Table 9: | Control Valve Body Kit (Gen 1) 24248473 |
| Table 10: | Control Valve Body Kit (Gen 2) 24260702 |
| Table 11: | Clutch Plate Package (Gen 1) 24249460 |
| Table 12: | Clutch Plate Package (Gen 2) 24260695 |
| Table 13: | 4-5-6 Plate Assembly (Gen 2) 24260700 |
| Table 14: | Low and Reverse Plate Assembly (Gen 2) 24260696 |
| Table 15: | 3-5 Reverse Plate Assembly (Gen 2) 24260697 |
| Table 16: | 2-6 Plate Assembly (Gen 2) 24260698 |
| Table 17: | 1-2-3-4 Plate Assembly (Gen 2) 24260699 |
| Table 18: | A/Trans Seal Kit (Gen 2) 24260704 |
| Table 19: | A/Trans Auxiliary Seal Kit (Gen 2) 24260705 |

Note:Callouts with boxes around them indicate part is included inthe service kit. Callouts without boxes are shown for relationshippurposes only.
20 | 3 | A/Trans Input Speed Sensor Assembly O-Ring Seal |

Note:Callouts with boxes around them indicate part is included inthe service kit. Callouts without boxes are shown for relationshippurposes only.
209 | 1 | Front Wheel Drive Shaft Oil Seal Assembly |

Note:Callouts with boxes around them indicate part is included inthe service kit. Callouts without boxes are shown for relationshippurposes only.
65 | 1 | Drive Shaft Oil Seal Assembly |

3 | 1 | Control Valve Body Cover Gasket |
24 | 1 | Torque Converter Housing Gasket |
58 | 4 | 3-5-Reverse and 4-5-6 Clutch Fluid Seal Ring |
65 | 1 | Drive Shaft Oil Seal Assembly |
202 | 1 | Torque Converter and Differential Housing Seal |
209 | 1 | Front Wheel Drive Shaft Oil Seal Assembly |
301 | 1 | Torque Converter Fluid Seal Assembly |
319 | 1 | Torque Converter Fluid Seal Assembly |
504 | 1 | 3-5-Reverse Clutch Piston Inner Seal |
505 | 1 | 3-5-Reverse Clutch Piston Inner Seal |
506 | 1 | 3-5-Reverse Clutch Piston Dam Seal |
518 | 1 | 4-5-6 Clutch Piston Outer Seal |
519 | 1 | 4-5-6 Clutch Piston Outer Seal |
521 | 1 | 4-5-6 Clutch Piston Inner Seal |

Note:Callouts with boxes around them indicate part is included inthe service kit. Callouts without boxes are shown for relationshippurposes only.
5 | 1 | Control Valve Body Cover Hole Seal |
8 | 1 | Control Valve Body Filter Plate Assembly |
12 | 1 | Control Valve Body Spacer Plate Assembly |
14 | 1 | A/Trans Fluid Level Control Valve Gasket |
20 | 3 | A/Trans Input Speed Sensor Assembly O-Ring Seal |
25 | 1 | A/Trans Fluid Pump Seal Assembly |
59 | 1 | Drive Link Lube Fluid Seal |
67 | 1 | 1-2-3-4 and Low Reverse Clutch Fluid Passage Seal |
203 | 1 | A/Trans Fluid Filter Assembly |
403 | 1 | Channel Plate to Valve Body Spacer Plate Assembly |
604 | 1 | Manual Shift Shaft Seal |
605 | 1 | Park Pawl Actuator Guide Seal |

3 | 1 | Control Valve Body Cover Gasket |
24 | 1 | Torque Converter Housing Gasket |
58 | 3 | 3-5-Reverse and 4-5-6 Clutch Fluid Seal Ring |
65 | 1 | Drive Shaft Oil Seal Assembly |
202 | 1 | Torque Converter and Differential Housing Seal |
209 | 1 | Front Wheel Drive Shaft Oil Seal Assembly |
301 | 1 | Torque Converter Fluid Seal Assembly |
319 | 1 | Torque Converter Fluid Seal Assembly |
504 | 1 | 3-5-Reverse Clutch Piston Inner Seal |
505 | 1 | 3-5-Reverse Clutch Piston Inner Seal |
506 | 1 | 3-5-Reverse Clutch Piston Dam Seal |
518 | 1 | 4-5-6 Clutch Piston Outer Seal |
519 | 1 | 4-5-6 Clutch Piston Outer Seal |
521 | 1 | 4-5-6 Clutch Piston Inner Seal |
524 | 1 | 4-5-6 Clutch Piston Fluid Dam Retainer Ring |

Note:Callouts with boxes around them indicate part is included inthe service kit. Callouts without boxes are shown for relationshippurposes only.
5 | 1 | Control Valve Body Cover Hole Seal |
8 | 1 | Control Valve Body Filter Plate Assembly |
12 | 1 | Control Valve Body Spacer Plate Assembly |
14 | 1 | A/Trans Fluid Level Control Valve Gasket |
20 | 3 | A/Trans Input Speed Sensor Assembly O-Ring Seal |
23 | 1 | Fill Cap Seal |
25 | 1 | A/Trans Fluid Pump Seal Assembly |
59 | 1 | Drive Link Lube Fluid Seal |
67 | 1 | 1-2-3-4 and Low Reverse Clutch Fluid Passage Seal |
203 | 1 | A/Trans Fluid Filter Assembly |
403 | 1 | Channel Plate to Valve Body Spacer Plate Assembly |
407 | 5 | Actuator Feed Accumulator Spring |
408 | 5 | Actuator Feed Accumulator Piston |
604 | 1 | Manual Shift Shaft Seal |
605 | 1 | Park Pawl Actuator Guide Seal |

Note:Callouts with boxes around them indicate part is included inthe service kit. Callouts without boxes are shown for relationshippurposes only.
523 | 1 | 4-5-6 Clutch Piston Fluid Dam Assembly |
524 | 1 | 4-5-6 Clutch Piston Fluid Dam Retainer Ring |
531 | 1 | Reaction Carrier Hub Assembly |

Note:Callouts with boxes around them indicate part is included inthe service kit. Callouts without boxes are shown for relationshippurposes only.
3 | 1 | Control Valve Body Cover Gasket |
5 | 1 | Control Valve Body Cover Hole Seal |
8 | 1 | Control Valve Body Filter Plate Assembly |
12 | 1 | Control Valve Body Spacer Plate Assembly |
14 | 1 | A/Trans Fluid Level Control Valve Gasket |
67 | 2 | 1-2-3-4 and Low Reverse Clutch Fluid Passage Seal |
403 | 1 | Channel Plate to Valve Body Spacer Plate Assembly |

Note:Callouts with boxes around them indicate part is included inthe service kit. Callouts without boxes are shown for relationshippurposes only.
3 | 1 | Control Valve Body Cover Gasket |
5 | 1 | Control Valve Body Cover Hole Seal |
8 | 1 | Control Valve Body Filter Plate Assembly |
12 | 1 | Control Valve Body Spacer Plate Assembly |
14 | 1 | A/Trans Fluid Level Control Valve Gasket |
67 | 2 | 1-2-3-4 and Low Reverse Clutch Fluid Passage Seal |
403 | 1 | Channel Plate to Valve Body Spacer Plate Assembly |
407 | 5 | Actuator Feed Accumulator Spring |
408 | 5 | Actuator Feed Accumulator Piston |

Note:Callouts with boxes around them indicate part is included inthe service kit. Callouts without boxes are shown for relationshippurposes only.
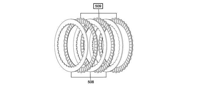
509 | 3 | 3-5 Reverse Clutch (w/Friction Material) PlateAssembly |
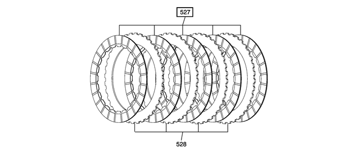
527 | 4 | 4-5-6 Clutch (w/Friction Material) Plate Assembly |
542 | 2 | 2-6 Clutch (w/Friction Material) Plate Assembly |
545 | 3 | Low and Reverse Clutch (w/Friction Material) PlateAssembly |
559 | 2 | 1-2-3-4 Clutch (w/Friction Material) Plate Assembly |

Note:Callouts with boxes around them indicate part is included inthe service kit. Callouts without boxes are shown for relationshippurposes only.
509 | 3 | 3-5 Reverse Clutch (w/Friction Material) PlateAssembly |
527 | 5 | 4-5-6 Clutch (w/Friction Material) Plate Assembly |
542 | 2 | 2-6 Clutch (w/Friction Material) Plate Assembly |
545 | 3 | Low and Reverse Clutch (w/Friction Material) PlateAssembly |
559 | 2 | 1-2-3-4 Clutch (w/Friction Material) Plate Assembly |

Note:Callouts with boxes around them indicate part is included inthe service kit. Callouts without boxes are shown for relationshippurposes only.
527 | 5 | 4-5-6 Clutch (w/Friction Material) Plate Assembly |

Note:Callouts with boxes around them indicate part is included inthe service kit. Callouts without boxes are shown for relationshippurposes only.
545 | 3 | Low and Reverse Clutch (w/Friction Material) PlateAssembly |

Note:Callouts with boxes around them indicate part is included inthe service kit. Callouts without boxes are shown for relationshippurposes only.
509 | 3 | 3-5 Reverse Clutch (w/Friction Material) PlateAssembly |

Note:Callouts with boxes around them indicate part is included inthe service kit. Callouts without boxes are shown for relationshippurposes only.
542 | 2 | 2-6 Clutch (w/Friction Material) Plate Assembly |

Note:Callouts with boxes around them indicate part is included inthe service kit. Callouts without boxes are shown for relationshippurposes only.
559 | 2 | 1-2-3-4 Clutch (w/Friction Material) Plate Assembly |

Note:Callouts with boxes around them indicate part is included inthe service kit. Callouts without boxes are shown for relationshippurposes only.
352 | 2 | A/Trans Auxiliary Fluid Pump Outlet Pipe Seal Assembly |
356 | 1 | Pressure Regulator Valve Spring Spacer |
361 | 1 | A/Trans Auxiliary Fluid Pump Gasket |
362 | 1 | A/Trans Auxiliary Fluid Pump Seal |
363 | 1 | A/Trans Auxiliary Fluid Pump Cover Seal |
367 | 1 | A/Trans Auxiliary Fluid Pump Motor Cover Seal–O-Ring |
371 | 1 | A/Trans Auxiliary Fluid Inlet Pump Seal |
373 | 1 | A/Trans Fluid Trough Check Ball |

Note:Callouts with boxes around them indicate part is included inthe service kit. Callouts without boxes are shown for relationshippurposes only.
352 | 2 | A/Trans Auxiliary Fluid Pump Outlet Pipe Seal Assembly |
356 | 1 | Pressure Regulator Valve Spring Spacer |
361 | 1 | A/Trans Auxiliary Fluid Pump Gasket |
362 | 1 | A/Trans Auxiliary Fluid Pump Seal |
363 | 1 | A/Trans Auxiliary Fluid Pump Cover Seal |
367 | 1 | A/Trans Auxiliary Fluid Pump Motor Cover Seal–O-Ring |
3-5-Reverse and 4-5-6 Clutch Housing Assemble (6T40/45/50 - Gen 2) Automatic Transmission Unit
Front Differential Drive Pinion Bearing Cup, Washer, and Lubricant Dam Replacement - Torque Converter Housing Side Automatic Transmission Unit#PIT5030E: Diagnostic Tip - Intermittent No Crank When Ignition Key Is Turned To The Crank Position - (May 2, 2013) Ignition System
Subject:Diagnostic Tip - Intermittent No Crank When Ignition Key Is Turned To The Crank PositionModels: 2010 - 2014 Buick LaCrosse, Regal2012 – 2014 Buick Verano (Without RPO BAH Or ATH)2013 – 2014 Buick Encore2013 – 2014 Chevrolet Trax (Canada only)2010 - 2014 Chevrolet Camaro, Equinox2011 - ...