| Table 1: | Intermediate Drive Shaft Assembly |
| Table 2: | Rear Output Shaft Housing Assembly |
| Table 3: | Output Flange Installation |
| Table 4: | Right Transfer Case, Input Shaft, and Output Drive ShaftInstallation |
| Table 5: | Rear Output Shaft Housing Installation |
| Table 6: | Intermediate Drive Shaft Installation |
| Table 7: | Housing O-ring, Vent Assembly, Drain and Fill PlugInstallation |

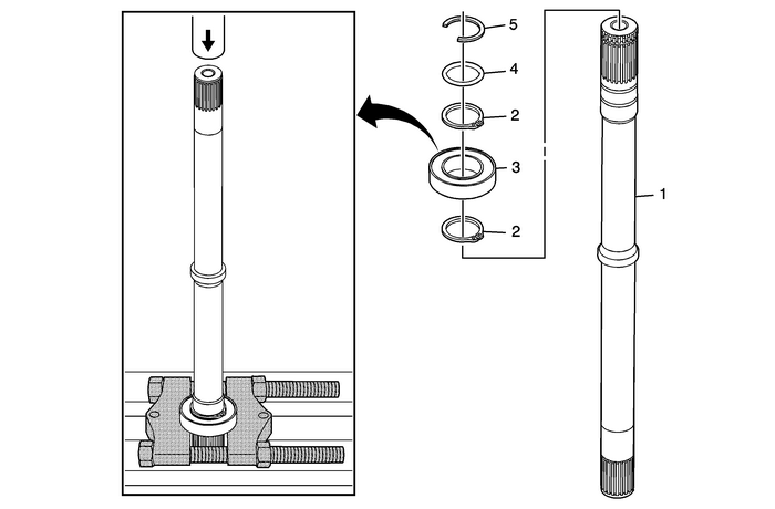
1 | Transfer Case Intermediate Drive Shaft |
2 | Transfer Case Intermediate Drive Shaft Bearing Retainers(Qty: 2) |
3 | Transfer Case Intermediate Drive Shaft BearingAssembly Tip:Use a press, with theDT-22912-B/KM-307-Brear pinion and axle bearing removerflat side up, in order to install the bearingassembly. Special Tools DT-22912-B/KM-307-BRear Pinion and Axle Bearing Remover For equivalent regional tools, refer toSpecial Tools |
4 | O-ring |
5 | Half Shaft Retainer |

1 | Transfer Case Rear Output Shaft |
2 | Transfer Case Rear Output Shaft Bearing Spacer |
3 | Transfer Case Rear Output Shaft Housing |
4 | Transfer Case Rear Output Shaft Bearing Assembly Tip:Use a press with theJ-5590pinion bearing race installer –rearto install the housing and bearings to the outputshaft. Special Tools J-5590Pinion Bearing Race Installer –Rear For equivalent regional tools, refer toSpecial Tools |
5 | Transfer Case Rear Output Shaft Seal Tip:Use a press with theDT-48075output shaft seal installerto install the seal. Special Tools DT-48075Output Shaft Seal Installer For equivalent regional tools, refer toSpecial Tools |

1 | Transfer Case Rear Output Shaft Oil Slinger Tip:Use a press with theDT-48077output shaft slinger installerin order to install the slinger. Special Tools DT-48077Output Shaft Slinger Installer For equivalent regional tools, refer toSpecial Tools |
2 | Transfer Case Rear Output Shaft Flange Tip:Use a press with theJ-5590pinion bearing race installer –rearto install the flange. Special Tools J-5590Pinion Bearing Race Installer –Rear For equivalent regional tools, refer toSpecial Tools |
3 | Transfer Case Rear Output Shaft Nut Caution:Refer toFastener Caution. Tip: The rear output shaft nut is supplied with a dry retainingcompound patch. If reusing the nut, apply retaining compound to thethreads. Refer toAdhesives, Fluids, Lubricants, and Sealers.Use a 30-mm socket or theJ-29873Injector Nozzle Socket 30-mmand theDT-08614-APinion Flange Holder and Remover.Tighten235-Y(173-lb-ft) Special Tools DT-08614-APinion Flange Holder and Remover For equivalent regional tools, refer toSpecial Tools |

1 | Transfer Case Half Locating Pins |
2 | Transfer Case Input Shaft Tip:Install the input and output shafts as a set with the splinesengaged. |
3 | Transfer Case Rear Output Drive Shaft |
4 | Transfer Case Seal to the Transfer Case –Right |
5 | Transfer Case – Right |
6 | Transfer Case Half Bolts (Qty:-12) Caution:Refer toFastener Caution. Tighten29-Y(21-lb-ft) |

1 | Transfer Case Rear Output Shaft Housing Seal O-ring |
2 | Transfer Case Rear Output Shim |
3 | Transfer Case Rear Output Shaft Housing Caution:Do not use a drive hammer when the splines are not engaged.Use of a drive hammer when the splines are not engaged will damagethe output shaft teeth. Tip: Use of a heat gun allows easy alignment of the bolt holes tothe housing during assembly.Install the rear output shaft housing with the flat areaaligned to the tab on the main housing.Rotate the pinion gear during assembly to engage the gearteeth.Special Tools EL-25070Heat Gun – 500–750F For equivalent regional tools, refer toSpecial Tools |
4 | Transfer Case Rear Output Shaft Housing Bolts(Qty:-6) Caution:Refer toFastener Caution. Tighten29-Y(21-lb-ft) |

1 | Front Wheel Drive Intermediate Shaft Caution:DT-48094 must be used over the intermediate shaftprior to installation in order to protect the intermediate shaftseal from damage. Special Tools DT-48094Installation Guide Shaft For equivalent regional tools, refer toSpecial Tools |
2 | Front Wheel Drive Retainer |

1 | Transfer Case Input Shaft Face Seal – RPO MHCOnly |
2 | Transfer Case O-ring Seal – RPO-MH4Only |
3 | Transfer Case Vent Assembly Tip:Replace the vent if damaged or blocked. |
4 | Drain Plug Caution:Refer toComponent Fastener Tightening Caution. Tighten39-Y(29-lb-ft) |
5 | Fill Plug Tighten39-Y(29-lb-ft) |
6 | Transfer Case Heat Shield – Model Dependent |
7 | Transfer Case Heat Shield Bolts (Qty:-3)– Model Dependent Caution:Refer toFastener Caution. Tighten11-Y(97-lb-in) |
8 | Transfer Case Bracket |
9 | Transfer Case Bracket Bolts (Qty:-2) Tip:Tighten the bracket bolts to light assembly torque. Tightento specification after the transfer case is mounted in the vehicle.Refer toFastener Tightening Specifications. |
Case Cover Assembly Assemble Automatic Transmission Unit
Case Cover Assembly Disassemble Automatic Transmission UnitAir Conditioning Compressor Replacement (LFX) Compressor
Air Conditioning Compressor ReplacementCalloutComponent NamePreliminary ProceduresNote:It is important to install the A/C compressor bolts in the proper order and torquedin proper sequence to ensure proper operation of the A/C compressor.Recover the refrigerant. Refer toRefrigerant Recovery and Rech ...