Special Tools
J-35910Drive Axle Boot Clamp Pliers
Note:The inner Constant Velocity Joint is not serviced separately.If the CV joint is found to have excessive wear or damaged, replacethe wheel drive shaft as an assembly.
Disassemble ProcedureRemove the wheel drive shaft. Refer toRear Wheel Drive Shaft Replacement.Remove the outer CV joint and boot. Refer toRear Wheel Drive Shaft Outer Joint and Boot Replacement.
Caution:Do not cut through the wheel drive shaft inboard or outboardboot during service. Cutting through the boot may damage thesealing surface of the housing and the tripot or the constantvelocity joint bushing. Damage to the sealing surface may lead towater and dirt intrusion and premature wear of the constantvelocity joint.
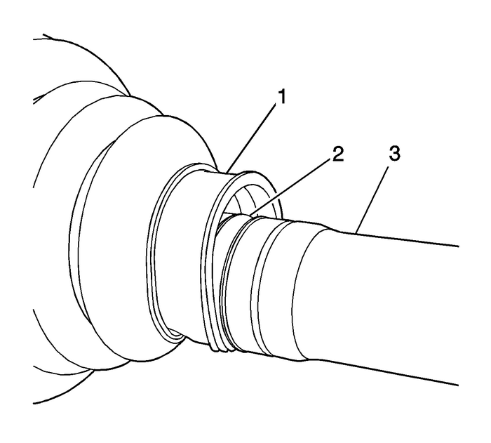
Using the appropriate tool, remove and discard the outer bootclamp-(3) and the inner boot clamp-(2) fromthe CV joint-(4).
Note:If the boot is damaged and either the lubricant is gone,water or other foreign material are found in the CV joint, replacethe wheel drive shaft as an assembly.
Remove the CV joint boot-(2) from the CVjoint-(3) and the wheel driveshaft-(1).Using the appropriate cleaner, remove the lubricant from theCV joint and the wheel drive shaft.Assemble Procedure
Install the CV joint boot and clamp-(1) on thewheel drive shaft and CV joint housing-(2).

Ensure that the CV joint boot-(1) is properlyseated in the groove-(2) in the wheel driveshaft-(3).

Using theJ-42572pliers, breaker bar, torque wrench and orratchet-(1), close the clamp-(2) until thegap-(3) measures2.15-mm-(0.085-in).

Place approximately half of the lubricant-(1) inthe CV joint boot-(2) and the other half in the CVjoint-(3).Install the CV joint boot and clamp-(2) CV jointhousing-(1).

The measured distance-(1) between the boot edgesshould be88.6-mm(3.50-in).

Using theJ-42572pliers-(3), breaker bar-(5) and a torqueor racket wrench-(4), close the clamp until the gapmeasures1.90-mm-(0.070-in).Move the CV joint in a circular motion to distribute thelubricant inside the cv joint housing.Clean any remaining lubricant from the outside of the CVjoint.Install the outer CV joint and boot. Refer toRear Wheel Drive Shaft Outer Joint and Boot Replacement.Install the wheel drive shaft. Refer toRear Wheel Drive Shaft Replacement.
Front Wheel Drive Shaft Replacement Wheels
Front Wheel Drive Shaft Inner Joint and Boot Replacement WheelsFront Differential Drive Pinion Bearing Cup, Washer, and Lubricant Dam Replacement - Torque Converter Housing Side Automatic Transmission Unit
Table 1: Bearing Cup, Washer and Lubricant Dam RemovalTable 2: Bearing Cup, Washer and Lubricant Dam InstallationBearing Cup, Washer and Lubricant Dam RemovalupBearing Cup, Washer and Lubricant Dam RemovalCalloutComponent NamePreliminary ProcedureDo not install the bearing cup until after the select ...