Special ToolsEN 22738-BValve Spring TesterEN-28410Gasket RemoverGE 7872Magnetic Base Dial Indicator
For equivalent regional tools, refer toSpecial Tools.
Valve Cleaning and Inspection
Note:Do not use a wire brush on any part of the valve stem.
Note:Do not grind or condition the intake valve. If the intakevalve is out of specification, replace the valve.
Clean the valves of carbon, oil and varnish. Use a softbristle wire brush to clean any carbon build-up from the valvehead. Varnish can be removed by soaking in Parts Immersion Solvent.Refer toAdhesives, Fluids, Lubricants, and Sealers.Clean the valve guides.Inspect the valve stem for pitting orwear-(4).Inspect the valve key groove for chipping orwear-(5). Replace the valve if chipped or worn.Inspect the valve face for burning orcracking-(1). If pieces are broken off, inspect thecorresponding piston and cylinder head area for damage.Inspect the valve stem for burrs and scratches. Burrs andminor scratches may be removed with an oil stone.Inspect the valve stem for straightness-(3) andthe valve head for bending or distortion using V-blocks.Bent or distorted valves must be replaced.Clean the deposits from the valve face. Inspect the valveface for grooving.Replace the valve if the face is grooved. Valve faces cannotbe machined. If worn, or damaged, the valves must bereplaced.Replace the valve if the valve head O.D. andchamfer-(2) is worn or out of specification. Refer toValve and Seat Grinding.The valves may be lightly lapped to the valve seats.Replace the valve if the valve tip-(6) isworn.If no apparent wear, pitting, grooving, or distortion ispresent, perform the valve measurement and reconditioning procedureto verify valve specification. Refer toValve and Seat Grinding.Valve Guide Measurement
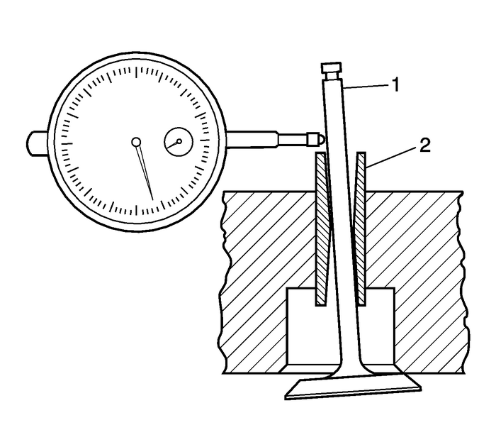
Measure the valvestem-(1)-to-guide-(2)clearance. Excessive valve stem-to-guideclearance may cause an excessive oil consumption and may also causea valve to break. Insufficient clearance will result in noisy andsticky functioning of the valve and will disturb the engineassembly smoothness.Clamp theGE 7872dial indicatorto the cylinder head at the camshaft cover rail.Locate the dial indicator so that the movement of the valvestem from side to side, crossways to the cylinder head, will causea direct movement of the indicator stem. The dial indicator stemmust contact the side of the valve stem just above the valveguide.Drop the valve head about 0.064-mm(0.0025-in) off the valve seat.Use light pressure when moving the valve stem from side toside in order to obtain a clearance reading. Refer toEngine Mechanical Specificationsfor properclearance.
Note:Valve guide wear at the bottom 10-mm(0.390-in) of the valve guide is not significant tonormal operation.
If the clearance for the valve is greater than specificationsand a new standard diameter valve stem will not bring the clearancewithin specifications, replace the cylinder head.Valve Spring Cleaning and InspectionClean the valve springs in solvent.Warning:Refer toSafety Glasses Warning.
Dry the valve springs with compressed air.Inspect the valve springs for broken coils or coilends.
Measure the valve spring tension using theEN 22738-Btester. Refer toEngine Mechanical SpecificationsIf low valve spring load is found, replace the valve springs.DO NOT use shims to increase spring load. The use of shims cancause the valve spring to bottom out before the camshaft lobe is atpeak lift.Valve Rocker Arm Cleaning and Inspection

Inspect the camshaft follower roller-(1) for thefollowing:Flat spotsExcessive scoring and pittingEnsure the roller spins freelyInspect the camshaft follower valve tiparea-(2).Inspect the camshaft follower stationary hydraulic lashadjuster-(SHLA) pivot area-(3).Replace the camshaft follower or followers asnecessary.Cylinder Head and Gasket Surface Cleaning andInspection

Remove the spark plugs.Inspect the cylinder head gasket and mating surfaces forleaks, corrosion and blow-by. If the gasket has failed,use the following faults to determine the cause:Improper installationLoose or warped cylinder headMissing, off location or not fully seated dowel pinsCorrosion in the seal area around the coolant passagesChips or debris in the cylinder head bolt holesBolt holes in the cylinder block not drilled or tapped deepenough

Inspect the cylinder head gasket surface.Cylinder head may be reused if corrosion is found onlyoutside a 4-mm (0.375-in) band around eachcombustion chamber-(1).Replace the cylinder head if the area between the valve seatsis cracked-(2).Replace the cylinder head if corrosion has been found insidea 4-mm (0.375-in) band around each combustionchamber-(3).Clean the cylinder head bolts.
Note:Do not use a wire brush on any gasket sealing surface.
Remove the sealant from the rear cap mating surface withEN-28410remover. Care must be used to avoid gouging or scraping thesealing surfaces.Clean the cylinder head. Remove all varnish, soot and carbonto the bare metal.Clean the valve guides.Clean the threaded holes. Use a nylon bristle brush.Clean the remains of the sealer from the plug holes.Inspect the cylinder head bolts for damaged threads orstretching and damaged heads caused by improper use oftools.Replace all suspect bolts.Inspect the cylinder head for cracks. Check between the valveseats and in the exhaust ports.Note:Do not attempt to weld the cylinder head, replace it.
Inspect the cylinder head deck for corrosion, sand inclusionsand blow holes.
Using a straight edge-(1) and feelergauge-(2), inspect the cylinder head deck surface forflatness. Refer toEngine Mechanical Specifications. If the cylinder head isout of specification, replace the cylinder head. Do not machine thecylinder head.Inspect all the threaded holes for damage. Threads may bereconditioned with thread inserts.Inspect the sealing surfaces.

Inspect the cylinder head plugs and verify the oil orifice isclear and free of debris.

Clean the sealant from the rear cap mating surface withEN-28410remover. Care must be used to avoid gouging or scraping thesealing surfaces.Inspect the intake camshaft bearing rear cap-(1)for damage.Inspect the rear bearing mating surfaces for damage.Inspect the camshaft bearing caps-(2) fordamage.Inspect the camshaft front bearing caps-(3) fordamage.

Caution:Refer toComponent Fastener Tightening Caution.
Install the spark plugs. Tighten the plugs to20-Y(15-lb-ft).
Camshaft Cover Assemble Valvetrain Camshaft
Valve Spring Inspection and Measurement Valvetrain Valve Actuating AssemblyRear Seat Armrest Mount Panel Replacement Seats
Rear Seat Armrest Mount Panel ReplacementCalloutComponent NamePreliminary ProceduresRemove the rear seat armrest assembly. Refer toRear Seat Armrest ReplacementRemove the rear seat back cushion cover and pad. Refer toRear Seat Back Cushion Cover and Pad Replacement1Rear Seat Armrest Mount Panel ...