
Warning:Valve springs can be tightly compressed. Use care whenremoving retainers and plugs. Personal injury could result. Caution:After cleaning the transmission components, allow to air dry.Do not use cloth or paper towels in order to dry any transmissioncomponents. Lint from the towels can cause componentfailure. Caution:Do not reuse cleaning solvents. Previously used solvents maydeposit sediment which may damage the component. Preliminary Procedure Clean and inspect all valve components and the valve body. The control valve lowerbody is replaceable only as an assembly. | |
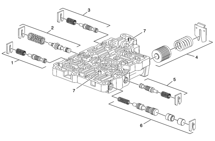
1 | 3–5 Reverse Clutch Boost Valve Train |
2 | Accumulator Feed Limit Valve Train |
3 | 4–5–6 Clutch Boost Valve Train |
4 | 4–5–6 Clutch Accumulator Piston Assembly |
5 | 1–2–3–4 Clutch Boost Valve Train |
6 | 1–2–3–4 Clutch Regulator Valve Train |
7 | Control Valve Body Locating Pins (Qty: 2) Note:Inspect Valve Body locating pins for proper installed height of 4.25-mm (0.17-in). |
Control Valve Lower Body Automatic Transmission Unit
Control Valve Lower Body Spacer Plate Assembly Automatic Transmission UnitFront Bumper Impact Bar Replacement Bumpers Front Bumper
Front Bumper Impact Bar ReplacementCalloutComponent NamePreliminary ProcedureRemove the bumper fascia. Refer toFront Bumper Fascia Replacement.1Front Bumper Impact Bar Bracket Bolt(Qty:-8)Caution:Refer toFastener Caution.Tighten30-Y(22-lb-ft)2Front Bumper Impact BarProcedureDisconnect the electrical ...